152903, г. Рыбинск, ул. Труда, д. 99
info@seversnabRM.ru
+7 (915) 971-14-38
Поиск
  • Каталог
    • ДЛЯ СНЕГОХОДА
    • ДЛЯ КВАДРОЦИКЛА
    • МАСЛА И СМАЗКИ
    • ДОП.ОБОРУДОВАНИЕ
    • ЭКИПИРОВКА
    • ВЕЛОСИПЕДЫ
    • ЗАПЧАСТИ ДЛЯ ТО
    • МАСЛА
  • Доставка
  • Оплата
  • Инфо
    • Информация для покупателя
  • Контакты
  • Оптом
0 Нет товаров
0 0 руб.
×
  • Каталог
    • ДЛЯ СНЕГОХОДА
    • ДЛЯ КВАДРОЦИКЛА
    • МАСЛА И СМАЗКИ
    • ДОП.ОБОРУДОВАНИЕ
    • ЭКИПИРОВКА
    • ВЕЛОСИПЕДЫ
    • ЗАПЧАСТИ ДЛЯ ТО
    • МАСЛА
  • Доставка
  • Оплата
  • Инфо
    • Информация для покупателя
  • Контакты
  • Оптом
  1. Главная
  2. Каталог
  3. ДЛЯ СНЕГОХОДА
  4. Модельный ряд Рыбинка
  5. Средство малой механизации РЫБИНКА -04

Средство малой механизации РЫБИНКА -04

Вал коленчатый
Вал коленчатый
Воздухозаборник
Воздухозаборник
Глушитель
Глушитель
Группа картерная
Группа картерная
Двигатель  Kohler CH270-0115
Двигатель Kohler CH270-0115
Движитель М10200400
Движитель М10200400
Капот М10700110
Капот М10700110
Наклейки
Наклейки
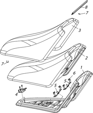
Сидение М10100340-01
Сидение М10100340-01
Сиденье M10100340
Сиденье M10100340
Система питания
Система питания
Система смазки
Система смазки
Средства управления двигателем
Средства управления двигателем
Стартер ручной
Стартер ручной
Тормоз
Тормоз
Трансмиссия М10600300
Трансмиссия М10600300
Газораспределение
Газораспределение
Управление рулевое М10300570
Управление рулевое М10300570
СММ "РЫБИНКА"  М10000010-04 Сборочные элементы
СММ "РЫБИНКА" М10000010-04 Сборочные элементы
Электрооборудование
Электрооборудование

Остались вопросы?

Перезваниваем и отвечаем в течение часа в рабочее время

Просто
заполни форму

Контакты

  • 152903, г. Рыбинск, ул. Труда, д. 99
  • +7 (915) 971-14-38 (многоканальный)
  • info@seversnabRM.ru

Информация

  • Доставка
  • Оплата
  • Инфо
  • Контакты
  • Оптом
  • Правовая информация

Каталог

  • ДЛЯ СНЕГОХОДА
  • ДЛЯ КВАДРОЦИКЛА
  • МАСЛА И СМАЗКИ
  • ДОП.ОБОРУДОВАНИЕ
  • ЭКИПИРОВКА
  • ВЕЛОСИПЕДЫ
  • ЗАПЧАСТИ ДЛЯ ТО
  • МАСЛА
  • Вся представленная на сайте информация, касающаяся техники RM, сервисного обслуживания, запчастей и аксессуаров, носит информационный характер и не является публичной офертой, определяемой положениями ст. 437 (2) ГК РФ. Все цены, указанные на данном сайте, носят информационный характер и являются рекомендуемыми, без учета доставки. Вы принимаете условия политики в отношении обработки персональных данных и согласие на обработку персональных данных каждый раз, когда оставляете свои данные в любой форме обратной связи на сайте seversnabrm.ru.

© Все права защищены. ООО "СеверСнаб-РМ".

Этот Сайт использует файлы cookies для хранения данных. Продолжая использовать Сайт, Вы даете согласие на работу с этими файлами и согласие на обработку персональных данных. Пожалуйста, ознакомьтесь с публичной офертой и Политикой конфиденциальности.

Заказать звонок