152903, г. Рыбинск, ул. Труда, д. 99
info@seversnabRM.ru
+7 (915) 971-14-38
Поиск
Каталог
ДЛЯ СНЕГОХОДА
ДЛЯ КВАДРОЦИКЛА
МАСЛА И СМАЗКИ
ДОП.ОБОРУДОВАНИЕ
ЭКИПИРОВКА
ВЕЛОСИПЕДЫ
ЗАПЧАСТИ ДЛЯ ТО
МАСЛА
Доставка
Оплата
Инфо
Информация для покупателя
Контакты
Оптом
0
Нет товаров
0
0
руб.
×
Каталог
ДЛЯ СНЕГОХОДА
ДЛЯ КВАДРОЦИКЛА
МАСЛА И СМАЗКИ
ДОП.ОБОРУДОВАНИЕ
ЭКИПИРОВКА
ВЕЛОСИПЕДЫ
ЗАПЧАСТИ ДЛЯ ТО
МАСЛА
Доставка
Оплата
Инфо
Информация для покупателя
Контакты
Оптом
Главная
Каталог
ДЛЯ СНЕГОХОДА
Модельный ряд Тайга
Тайга РМ Рысь
Тайга РМ Рысь
Поиск
Вал ведущий C70200050
Головка цилиндра
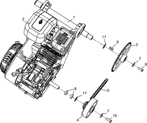
Двигатель
Движитель гусеничный C70200100
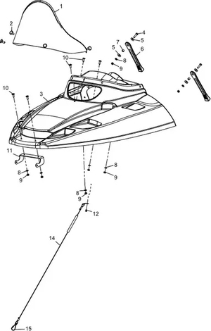
Капот
Картер
Коленчатый вал
Крепление двигателя
Кронштейны для крепления пластика
Наклейки
Пластик
Подвеска передняя и лыжа для C70300100
Привод воздушной заслонки
Рама C70100180
Рама C70100280
Сиденье C70100110
Система впуска
Система выпуска
Система зажигания
Система запуска
Система питания C70800200
Система смазки
Система управления двигателем
Тормоз
Трансмиссия C70600100
Трансмиссия C70600200
Управление рулевое C70300100
Электрооборудование
Ресурс без названия
Вал ведущий C70200050
Головка цилиндра
Двигатель
Движитель гусеничный C70200100
Капот
Картер
Коленчатый вал
Крепление двигателя
Кронштейны для крепления пластика
Наклейки
Пластик
Подвеска передняя и лыжа для C70300100
Привод воздушной заслонки
Рама C70100180
Рама C70100280
Сиденье C70100110
Система впуска
Система выпуска
Система зажигания
Система запуска
Система питания C70800200
Система смазки
Система управления двигателем
Тормоз
Трансмиссия C70600100
Трансмиссия C70600200
Управление рулевое C70300100
Электрооборудование
Ресурс без названия
Остались вопросы?
Перезваниваем и отвечаем в течение часа в рабочее время
Просто
заполни форму
Имя
Ваше имя
Ваш e-mail
Сообщение