152903, г. Рыбинск, ул. Труда, д. 99
info@seversnabRM.ru
+7 (915) 971-14-38
Поиск
Каталог
ДЛЯ СНЕГОХОДА
ДЛЯ КВАДРОЦИКЛА
МАСЛА И СМАЗКИ
ДОП.ОБОРУДОВАНИЕ
ЭКИПИРОВКА
ВЕЛОСИПЕДЫ
ЗАПЧАСТИ ДЛЯ ТО
МАСЛА
Доставка
Оплата
Инфо
Информация для покупателя
Контакты
Оптом
0
Нет товаров
0
0
руб.
×
Каталог
ДЛЯ СНЕГОХОДА
ДЛЯ КВАДРОЦИКЛА
МАСЛА И СМАЗКИ
ДОП.ОБОРУДОВАНИЕ
ЭКИПИРОВКА
ВЕЛОСИПЕДЫ
ЗАПЧАСТИ ДЛЯ ТО
МАСЛА
Доставка
Оплата
Инфо
Информация для покупателя
Контакты
Оптом
Главная
Каталог
ДЛЯ СНЕГОХОДА
Модельный ряд Тайга
Тайга Варяг 550
Тайга Варяг 550
Поиск
Вал ведущий и гусеница
Вал коленчатый С40500790, поршни
Глушитель шума впуска С40500010-01
Глушитель шума впуска С40800300
Двигатель
Движитель С40201000
Капот C40700500
Картер двигателя С40501110
Коробка передач C40600100
Коробка перемены передач L30601100-01
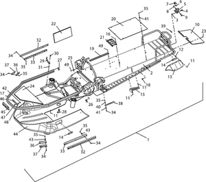
Корпус
Корпус С40101670
Корпус С40102270
Крепление двигателя (1 Карбюратор)
Крепление двигателя (2 Карбюратора)
Наклейки для C40700500
Органы управления, осветительные и сигнальные приборы
Основание двигателя
Подвеска передняя короткоходная и лыжа
Подвеска передняя и лыжа
Регулятор центробежный С40601900
Регулятор центробежный С40601900-07
Сиденье С40102350
Сиденье С40103640
Система выпуска
Система зажигания (ФЛЭЙМЗ)
Система зажигания(DUCATI)
Система охлаждения
Система питания Варяг 550 1 карбюратор
Система питания Варяг 550/V 2 карбюратора
Система электрозапуска
Стартер ручной C40500220/-01
Трансмиссия С40601700-05
Тросы Варяг
Управление рулевое C403001900 введено с 09.2012 взамен С40300100, аннулировано в 08.2013 и заменено
Управление рулевое С40300100 аннулировано 09.2012 и заменено на С40301900
Управление рулевое С40302700 введено с 08.2013, взамен C40301900
Цилиндровая группа и элементы систем впуска и выпуска 1 карб.
Цилиндровая группа и элементы систем впуска и выпуска 2 карб.
Шкив вариатора ведомый C40601500
Шкив вариатора ведомый C40601500-02
Коробка передач C40600100, C40600100-01
Стартер ручной C40500220-01 по 01.10.2021
Система зажигания
Глушитель шума впуска С40500010-01
Двигатель
Капот C40700500
Коробка передач C40600100, C40600100-01
Корпус
Корпус С40101670
Корпус С40102270
Наклейки для C40700500
Органы управления, осветительные и сигнальные приборы
Регулятор центробежный С40601900-07
Сиденье С40102350
Сиденье С40103640
Система зажигания (ФЛЭЙМЗ)
Система зажигания
Система питания Варяг 550 1 карбюратор
Система питания Варяг 550/V 2 карбюратора
Стартер ручной C40500220-01 по 01.10.2021
Трансмиссия С40601700-05
Управление рулевое C403001900 введено с 09.2012 взамен С40300100, аннулировано в 08.2013 и заменено
Управление рулевое С40300100 аннулировано 09.2012 и заменено на С40301900
Управление рулевое С40302700 введено с 08.2013, взамен C40301900
Цилиндровая группа и элементы систем впуска и выпуска 1 карб.
Шкив вариатора ведомый C40601500-02
Остались вопросы?
Перезваниваем и отвечаем в течение часа в рабочее время
Просто
заполни форму
Имя
Ваше имя
Ваш e-mail
Сообщение